

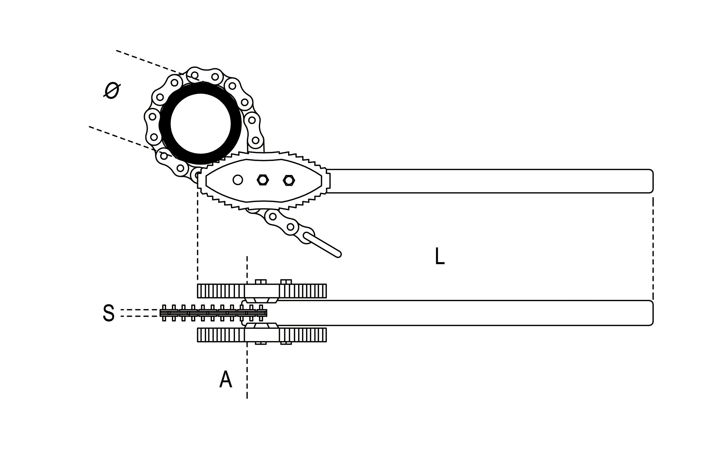
386 A/4-HEAVY DUTY REV. CHAIN PIPE WR.
About this item
- Heavy Duty
- Reversible
- For use in plumbing applications
Product description
Beta Utensili is a leading company in the production and sales of professional hand tools. The Ciceri family began producing tools in Northern Italy in the 1880s. Today, family owned Beta, or Beta Utensili is known for its direct involvement in Grand Prix racing, a relationship that dates back to the early 1970s. Research, development and quality. While nothing is perfect, weโre practicing. Accuracy, precision, rigor, quality, courage, style, consistency and innovation. To mould an idea, encourage it to its final outcome and after that better it still, Beta works daily, in close contact with end users, researching materials, design and constant improvement. Scrupulous control on each tool ensures its invariable quality.
Product details
Customer reviews
What customers say about Bigamart
10 Trustpilot reviews total, with 2 shown at a time.
I wrote to Bigamart's customer support and they accompanied the process of reshipping the item until it finally arrived. I felt a genuine effort to solve the problem till it was finally solved.
The package was here in Australia from England in a few days โ so quick! Something was missing and they refunded it straight away. Pretty happy with these guys.
You might also like



